Modul laser STA-AM30X menggunakan teknologi masa-penerbangan (TOF) untuk mencapai pengukuran jarak yang tepat dari 10 meter hingga 4000 meter. Ia menyokong kekerapan jarak 1Hz hingga 10Hz dan mempunyai antara muka komunikasi UART (TTL 3.3V). Fungsi termasuk satu-shot single-shot, pengiktirafan berterusan, pengiktirafan sasaran pertama/terakhir, dan pelbagai sasaran, menjadikannya sesuai untuk aplikasi pengukuran jarak ketepatan tinggi.
| Projek | Petunjuk Prestasi | |
| Model | STA-AM30X | |
| Petunjuk Prestasi | Panjang gelombang laser | 1535 ± 5nm |
| Keselamatan mata | Kelas ⅰ (IEC 60825-1) | |
| Sudut divergensi | ≤0.6 mrad | |
| Tenaga laser | ≥100 μJ | |
| Bidang pandangan (FOV) | ~ 7. 4mrad | |
| Julat pengukuran maksimum (keterlihatan> 8km) | ≥ 4000m @60% reflektiviti, sasaran bangunan | |
| ≥3000m @30% reflektif, sasaran 2.3 × 2.3m | ||
| ≥1500m @30% reflektif, sasaran 0.5 × 1.7m | ||
| ≥800m @30% reflektif, sasaran 0.2 × 0.3m | ||
| Julat minimum | ≤ 10 m | |
| Kekerapan antara | 1Hz ~ 10Hz | |
| Pengesanan pelbagai sasaran | Sehingga 3 sasaran | |
| Ketepatan yang berlainan | ± 1 m | |
| Kadar ketepatan | ≥98% | |
| Kadar penggera palsu | ≤1% | |
| Spesifikasi elektrik | Jenis antara muka | UART (TTL 3.3V) |
| Voltan bekalan kuasa | DC 3 ~ 5V | |
| Penggunaan kuasa siap sedia (julat suhu penuh) | ≤10mw (kuasa pada ditarik rendah) | |
| ≤0.8w (kuasa pada ditarik tinggi) | ||
| Sekiranya tetapan diperlukan, kaedah operasi adalah seperti berikut: | 5v.≤0.9w@1Hz | |
| 5v, <1. 5W@10Hz | ||
| Penggunaan kuasa puncak | <3W@5V | |
| Masa permulaan | ≤350ms (selepas permulaan, masa tindak balas ≤20ms) | |
| Ciri -ciri fizikal | Berat | ≤ 141g |
| Dimensi | ≤ 27 × 25 × 15.5mm (L × W × H) | |
| Kejutan | 1200g, 1ms | |
| Getaran | 5 ~ 50 ~ 5 Hz, 1 oktaf/min, 2.5g | |
| Kesesuaian alam sekitar | Suhu operasi | -40 ~ +70 ℃ |
| Suhu penyimpanan | -45 ~ +70 ℃ | |
| Kebolehpercayaan | MTBF> 1500H | |
Dimensi pendakap pemasangan yang disyorkan adalah seperti berikut:
Rajah Pemasangan:
Jenis antara muka: UART (TTL 3.3V)
Model Penyambung: FWF08002-S06B13W5M (penyambung TESGA)
| Pin | Definisi | Penerangan | |
| 1 | Power_on | Suis kuasa modul, tahap TTL 3.3V; modul pada (> 2.7V), modul OFF (<0.3V) | |
| 2 | UART_RX | Penerima Pelabuhan Serial, Tahap TTL 3.3V | |
| 3 | UART_TX | Pemancar Port Serial, Tahap TTL 3.3V | |
| 4 | NC | ||
| 5 | Kuasa positif | Bekalan kuasa, 3 ~ 5v | |
| 6 | Gnd | Bekalan kuasa, 3 ~ 5v |
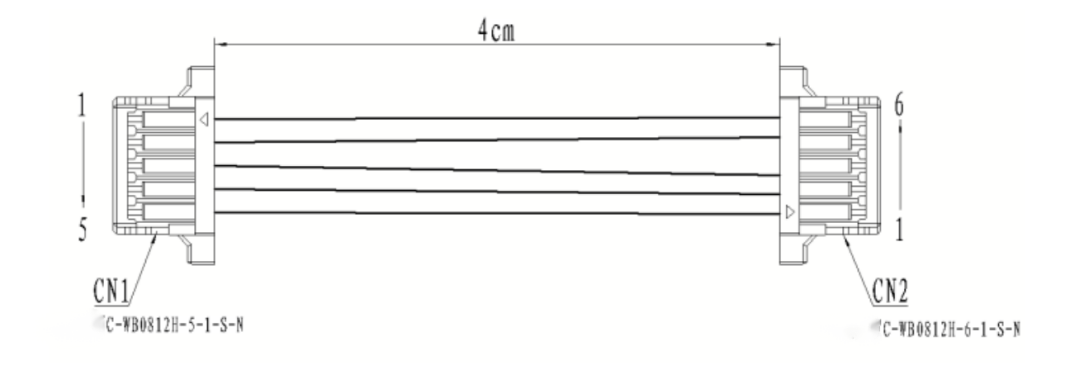
Definisi Kabel:
Pinout kabel yang sepadan:
| CN1 (C-WBO812H-5-1-S-N) | CN2 (C-WBO812H-6-1-S-N) | Spesifikasi kabel | Warna |
| 1 | 6 | AWG32 | Hitam |
| 2 | 5 | AWG32 | Merah |
| 3 | 3 | AWG32 | Kuning |
| 4 | 2 | AWG32 | Hijau |
| 5 | 1 | AWG32 | Putih |
1 Penerangan Protokol
1.1 Kadar dan Format Komunikasi
| Julat minimum | Kadar Baud: 115200bps (lalai kilang) / 57600bps / 38400bps / 9600bpsbyte Format data: 1 Bit mula, 8 bit data, 1 berhenti, tiada pengesahan |
1.2 Format paket asas
| Penerangan Seksyen | Panjang seksyen (bilangan bait) | Julat nilai | Catatan |
| Header Frame | 2 | 0xee 0x16 | Nilai tetap |
| Panjang data | 1 | 2 ~ 7 | Panjang data adalah jumlah bait dalam tiga bahagian: kod peranti, kod arahan dan parameter arahan |
| Kod peralatan | 1 | Definisi Kabel: | Nilai Tetap, Modul Siri LRF S |
| Kod arahan | 1 | 0 ~ 255 | Menunjukkan objek kawalan perintah kawalan semasa |
| Parameter Perintah | 0 ~ 4 | 0 ~ 255 | Menunjukkan parameter objek kawalan perintah kawalan semasa |
| Checksum | 1 | 0 ~ 255 | Checksum adalah jumlah semua data byte dalam tiga bahagian kod peralatan, kod arahan dan parameter arahan, dengan 8 bit yang lebih rendah |
1.3 Perintah Kawalan (Sistem→Modul Ranging)
| Kod arahan | Menjelaskan | Bytes Parameter Perintah |
| 0x03 | Jenis antara muka: UART (TTL 3.3V) | 0 |
| 0x02 | Single Ranging | 0 |
| 0x03 | Tetapkan sasaran pertama / terakhir / berganda | 1 |
| 0x04 | Berterusan yang berterusan | 0 |
| 0x05 | Berhenti berkisar | 0 |
| 0xa0 | Tetapkan kadar baud modul laser | 4 |
| 0xa1 | Tetapkan kekerapan yang berterusan | 2 |
| 0xa2 | Tetapkan jarak gating minimum | 2 |
| 0xa3 | Jarak gating minimum pertanyaan | 0 |
| 0xa4 | Jarak gating maksimum | 2 |
| 0xa5 | Tanyakan jarak gating maksimum | 0 |
| 0xa6 | Nombor versi perisian FPGA pertanyaan | 0 |
| 0xa7 | Nombor versi perisian MCU pertanyaan | 0 |
| 0xa8 | Nombor versi perkakasan pertanyaan | 0 |
| 0xa9 | Nombor SN pertanyaan | 0 |
| 0x90 | Jumlah masa output cahaya | 0 |
| 0x91 | Tanyakan kuasa dan menyala masa kali ini | 0 |
1.4 Data Respons (Modul Ranging→sistem)
| Kod arahan | Menjelaskan | Bytes Parameter Perintah |
| 0x03 | Jenis antara muka: UART (TTL 3.3V) | 4 |
| 0x02 | Single Ranging | 7 |
| 0x03 | Tetapkan sasaran pertama / terakhir / berganda | 0 |
| 0x04 | Berterusan yang berterusan | 4 |
| 0x05 | Berhenti berkisar | 0 |
| 0x06 | Ketidakseimbangan (hanya apabila negeri dalam perintah abnormality yang tidak normal, perintah itu dikembalikan selepas perintah tindak balas dari satu -satunya atau berkecuali dikembalikan) | 4 |
| 0xa0 | Tetapkan kadar baud modul laser | 4 |
| 0xa1 | Tetapkan kekerapan yang berterusan | 2 |
| 0xa2 | Tetapkan jarak gating minimum | 2 |
| 0xa3 | Jarak gating minimum pertanyaan | 2 |
| 0xa4 | Jarak gating maksimum | 2 |
| 0xa5 | Tanyakan jarak gating maksimum | 2 |
| 0xa6 | Nombor versi perisian FPGA pertanyaan | 4 |
| 0xa7 | Nombor versi perisian MCU pertanyaan | 4 |
| 0xa8 | Nombor versi perkakasan pertanyaan | 4 |
| 0xa9 | Nombor SN pertanyaan | 3 |
| 0x90 | Jumlah masa output cahaya | 3 |
| 0x91 | Tanyakan kuasa dan menyala masa kali ini | 3 |
1.5 Proses Operasi
Fter Modul Ranging dikuasakan, ia berada dalam mod siap sedia secara lalai. Ia perlu membolehkan suis kuasa modul (power_on ditarik) selama kira -kira 0.5 s (kapasitor memandu selesai pengecasan), dan kemudian semua operasi arahan dalam 6.2 di bawah boleh dijalankan.
2 Perjanjian khusus
2.1 Peralatan Pemeriksaan Sendiri
2.7.1 Hantar ke Modul Laser Ranging:
| Byte | 0 | 1 | 2 | 3 | 4 | 5 |
| Menggambarkan | 0xee | 0x16 | 0x02 | 0x03 | 0x03 | 0x04 |
2.1.2 Laser Ranging Module Pulangan:
| Byte | 0 | 1 | 2 | 3 | 4 | 5 | 6 | 7 | 8 | 9 |
| Menggambarkan | 0xee | 0x16 | 0x06 | 0x03 | 0x03 | Status3 | Status2 | Status1 | Status0 | Check_sum |
| Status3: ReservedStatus2: Intensiti Echo 0x00 ~ 0xffstatus1: Bit0 - Status Sistem FPGA; 1 normal 0 exceptionbit1 - keadaan output cahaya laser; 1 Output cahaya 0 Tiada LightBit2 - Status Pengesanan Gelombang Utama; 1 gelombang utama 0 tiada gelombang utama3 - status pengesanan echo; 1 echo 0 no echobit4 - status suis bias; 1 Bias pada 0 bias offbit5 - keadaan output bias; 1 voltan bias adalah normal 0 bias abnormalbit6 - keadaan suhu; 1 Suhu adalah normal 0 suhu tidak normal bit7 - output cahaya dari keadaan; 1 sah 0 InvalidStatus0: Bit0 - 5v6 Status kuasa; 1 pengecualian normal 0 | ||||||||||
12: نسخه سخت افزاری را نشان می دهد. این یک نسخه اصلاح شده اولیه از کارت است که حاوی مفاهیم فنی خاصی است که در مشخصات ذکر شده است.
2.2.1 Hantar ke Modul Laser Ranging:
| Byte | 0 | 1 | 2 | 3 | 4 | 5 |
| Menggambarkan | 0xee | 0x16 | 0x02 | 0x03 | 0x02 | 0x05 |
2.2.2 Laser Ranging Module Pulangan:
| Byte | 0 | 1 | 2 | 3 | 4 | 5 | 6 | 7 | 8 | 9 |
| Menggambarkan | 0xee | 0x16 | 0x06 | 0x03 | 0x02 | Status | Nilai Ranging Integer Tinggi 8 Bit | Nilai integer nilai lebih rendah 8 bit | Nilai Ranging Tempat perpuluhan | Check_sum |
| Apabila antara sasaran pertama / terakhir: Status: 0x00 menunjukkan bahawa hasil yang berkisar adalah sasaran tunggal; 0x01 menunjukkan bahawa terdapat sasaran depan dalam hasil jarak jauh; 0x02 menunjukkan bahawa terdapat sasaran belakang dalam hasil jarak jauh; 0x03 Reserved; 0x04 menunjukkan bahawa hasil jarak jauh dari jarak jauh; 0x05 Reserved; dalam hal multi-sasaran antara: Status_ Bit3 ~ 0: 0x0 menunjukkan bahawa hasilnya adalah sasaran tunggal; 0x1 menunjukkan bahawa terdapat sasaran depan dalam hasil jarak jauh; 0x2 menunjukkan bahawa terdapat sasaran belakang dalam hasil jarak jauh; 0x3 menunjukkan bahawa hasil jarak jauh mempunyai sasaran depan dan sasaran belakang; 0x4 menunjukkan bahawa hasil jarak jauh dari jarak jauh; 0x5 Reserved; Status_ Bit7 ~ 4: 0x0 ~ 0xf Menunjukkan nombor hasil jarak semasa; Julat nilai [0, n-1], bilangan sasaran 1 ≤ n ≤ 16; nilai julat = julat nilai integer tinggi 8 bit × 256 + nilai julat integer rendah 8 bit + nilai bit perpuluhan × 0.1, unit m | ||||||||||
2.2.2 Laser Ranging Module Pulangan:
2.3.1 Hantar ke Modul Laser Ranging:
| Byte | 0 | 1 | 2 | 3 | 4 | 5 | 6 |
| Menggambarkan | 0xee | 0x16 | 0x03 (panjang data) | 0x03 | 0x03 | Sasaran | Check_sum |
| Sasaran: 0x01 Tetapkan sasaran pertama; 0x02 Tetapkan sasaran terminal; 0x03 Tetapkan pelbagai sasaran; | |||||||
Интерфейс шины VME
| Byte | 0 | 1 | 2 | 3 | 4 | 5 |
| Menggambarkan | 0xee | 0x16 | 0x02 | 0x03 | 0x03 | 0x06 |
2.4 Berterusan
2.4.1 Hantar ke Modul Laser Ranging:
| Byte | 0 | 1 | 2 | 3 | 4 | 5 |
| Menggambarkan | 0xee | 0x16 | 0x02 | 0x03 | 0x03 | 0x06 |
2.4.2 Laser Ranging Module Pulangan:
| Byte | 0 | 1 | 2 | 3 | 4 | 5 | 6 | 7 | 8 | 9 |
| Menggambarkan | 0xee | 0x16 | 0x06 | 0x03 | 0x04 | Status | Nilai Ranging Integer Tinggi 8 Bit | Nilai integer nilai lebih rendah 8 bit | Nilai Ranging Tempat perpuluhan | Check_sum |
| Apabila mulai sasaran pertama dan terakhir: Status: 0x00 menunjukkan bahawa hasil jarak adalah sasaran tunggal; 0x01 menunjukkan bahawa terdapat sasaran depan dalam hasil jarak jauh; 0x02 menunjukkan bahawa terdapat sasaran belakang dalam hasil jarak jauh; 0x03 Reserved; 0x04 menunjukkan bahawa hasil jarak jauh dari jarak jauh; 0x05 Reserved; dalam hal multi-sasaran antara: Status_ Bit3 ~ 0: 0x0 menunjukkan bahawa hasilnya adalah sasaran tunggal; 0x1 menunjukkan bahawa terdapat sasaran depan dalam hasil jarak jauh; 0x2 menunjukkan bahawa terdapat sasaran belakang dalam hasil jarak jauh; 0x3 menunjukkan bahawa hasil jarak jauh mempunyai sasaran depan dan sasaran belakang; 0x4 menunjukkan bahawa hasil jarak jauh dari jarak jauh; 0x5 Reserved; Status_ Bit7 ~ 4: 0x0 ~ 0xf Menunjukkan nombor hasil jarak semasa; Julat nilai [0, n-1], bilangan sasaran 1 ≤ n ≤ 16; | ||||||||||
2.5 berhenti
2.5.1 Hantar ke Modul Laser Ranging:
| Byte | 0 | 1 | 2 | 3 | 4 | 5 |
| Menggambarkan | 0xee | 0x16 | 0x02 | 0x03 | 0x05 | 0x08 |
2.5.2 Laser Ranging Module Pulangan:
| Byte | 0 | 1 | 2 | 3 | 4 | 5 |
| Menggambarkan | 0xee | 0x16 | 0x02 | 0x03 | 0x05 | 0x08 |
2.6 anomali
Laser Ranging Module kembali:
| Byte | 0 | 1 | 2 | 3 | 4 | 5 | 6 | 7 | 8 | 9 | |
| Menggambarkan | 0xee | 0x16 | 0x06 | 0x03 | 0x06 | Rizab | Rizab | Rizab | Status1 | Check_sum | |
| Status1: Bit0 - Status Sistem FPGA; 1 Normal 0 pengecualian bit1 - keadaan output cahaya laser; 1 Output cahaya 0 Tiada Bit2 Light2 - Status Pengesanan Gelombang Utama; 1 Gelombang Utama 0 Tiada Gelombang Utama Bit3 - Status Pengesanan Echo; 1 echo 0 no echo bit4 - status suis bias; 1 Bias pada 0 Bias Off Bit5 - Bias Output State; 1 voltan bias adalah normal 0 bias tidak normal bit6 - keadaan suhu; 1 Suhu adalah normal 0 Suhu yang tidak normal Bit7 - Output cahaya dari keadaan; 1 sah 0 adalah arahan yang tidak sah dikembalikan hanya apabila bit0 ~ 7 dalam status1 tidak normal. | |||||||||||
2.7 Tetapkan kadar baud modul laser
2.7.1 Hantar ke Modul Laser Ranging:
| Byte | 0 | 1 | 2 | 3 | 4 | 5 | 6 | 7 | 8 | 9 |
| Menggambarkan | 0xee | 0x16 | 0x06 | 0x03 | 0xa0 | Baudhigh24 | Baudhigh16 | Baudlow8 | Baudlow0 | Check_sum |
2.7.2 Laser Ranging Module Pulangan:
| Byte | 0 | 1 | 2 | 3 | 4 | 5 | 6 | 7 | 8 | 9 |
| Menggambarkan | 0xee | 0x16 | 0x06 | 0x03 | 0xa0 | Baudhigh24 | Baudhigh16 | Baudlow8 | Baudlow0 | Check_sum |
2.8 Tetapkan kekerapan yang berterusan
2.8.1 Hantar ke Modul Laser Ranging:
| Byte | 0 | 1 | 2 | 3 | 4 | 5 | 6 | 7 |
| Menggambarkan | 0xee | 0x16 | 0x04 (panjang data) | 0x03 | 0x0A1 | Freq | Num | Check_sum |
| Freq: 0x01 ~ 0x0a Single / Continuous Ranging Frekuensi: 0x00 Rizab | ||||||||
2.8.2 Laser Ranging Module Pulangan:
| Byte | 0 | 1 | 2 | 3 | 4 | 5 |
| Menggambarkan | 0xee | 0x16 | 0x02 | 0x03 | 0xa1 | 0xa4 |
2.9 Tetapkan jarak gating minimum
2.9.1 Hantar ke Modul Laser Ranging:
| Byte | 0 | 1 | 2 | 3 | 4 | 5 | 6 | 7 |
| Menggambarkan | 0xee | 0x16 | 0x04 (panjang data) | 0x03 | 0xa2 | Dis_H | Dis_L | Check_sum |
| Dis_H: jarak tinggi 8 bitsdis_l: jarak bawah 8 bitsdis: 10 ~ 20000 jarak jarak jauh minimum, di m | ||||||||
2.8.2 Laser Ranging Module Pulangan:
| Byte | 0 | 1 | 2 | 3 | 4 | 5 | 6 | 7 |
| Menggambarkan | 0xee | 0x16 | 0x04 (panjang data) | 0x03 | 0xa2 | Dis_H | Dis_L | Check_sum |
| Dis_H: jarak tinggi 8 bitsdis_l: jarak bawah 8 bitsdis: 10 ~ 20000 jarak jarak jauh minimum, di m | ||||||||
2.10 Jarak gating minimum pertanyaan
2.10.1 Hantar ke Modul Laser Ranging:
| Byte | 0 | 1 | 2 | 3 | 4 | 5 |
| Menggambarkan | 0xee | 0x16 | 0x02 | 0x03 | 0xa3 | 0xa6 |
2.10.2 Laser Ranging Module Pulangan:
| Byte | 0 | 1 | 2 | 3 | 4 | 5 | 6 | 7 |
| Menggambarkan | 0xee | 0x16 | 0x04 (panjang data) | 0x03 | 0xa3 | Dis_H | Dis_L | Check_sum |
| Dis_H: jarak tinggi 8 bitsdis_l: jarak bawah 8 bitsdis: 10 ~ 20000 jarak jarak jauh minimum, di m | ||||||||
2.11 Tetapkan jarak gating maksimum
2.11.1 Hantar ke Modul Laser Ranging:
| Byte | 0 | 1 | 2 | 3 | 4 | 5 | 6 | 7 |
| menggambarkan | 0xee | 0x16 | 0x04 (panjang data) | 0x03 | 0xa4 | Dis_H | Dis_L | Check_sum |
| Dis_H: jarak tinggi 8 bitsdis_l: jarak bawah 8 bitsdis: 10 ~ 20000 jarak jarak jauh minimum, di m | ||||||||
| Byte | 0 | 1 | 2 | 3 | 4 | 5 | 6 | 7 |
| menggambarkan | 0xee | 0x16 | 0x04 (panjang data) | Definisi Kabel: | 0xa4 | Dis_H | Dis_L | Check_sum |
| Dis_H: jarak tinggi 8 bitsdis_l: jarak bawah 8 bitsdis: 10 ~ 20000 jarak jarak jauh minimum, di m | ||||||||
2.12 Pertanyaan jarak gating maksimum
2.12.1 Hantar ke Modul Laser Ranging:
| Byte | 0 | 1 | 2 | 3 | 4 | 5 |
| menggambarkan | 0xee | 0x16 | 0x02 | 0x03 | 0xa5 | 0xa8 |
| Byte | 0 | 1 | 2 | 3 | 4 | 5 | 6 | 7 |
| menggambarkan | 0xee | 0x16 | 0x04 (panjang data) | Definisi Kabel: | 0xa5 | Dis_H | Dis_L | Check_sum |
| Dis_H: jarak tinggi 8 bitsdis_l: jarak bawah 8 bitsdis: 10 ~ 20000 jarak jarak jauh minimum, di m | ||||||||
2.13 pertanyaan nombor versi perisian FPGA
2.13.1 Hantar ke Modul Laser Ranging:
| Byte | 0 | 1 | 2 | 3 | 4 | 5 |
| menggambarkan | 0xee | 0x16 | 0x02 | 0x03 | 0xa6 | 0xa9 |
2.13.2 Laser Ranging Module Pulangan:
| Byte | 0 | 1 | 2 | 3 | 4 | 5 | 6 | 7 | 8 | 9 |
| menggambarkan | 0xee | 0x16 | 0x06 | 0x03 | 0xa6 | Versi | Tarikh | Monyear | Pengarang | Check_sum |
| Versi: bit7 ~ bit4 Nombor versi utama (1 ~ 15) bit3 ~ bit0 nombor versi kecil (0 ~ 15) misal 0x5d dwu 0xcc cycheng | ||||||||||
2.14 Nombor versi perisian MCU pertanyaan
2.14.1 Hantar ke Modul Laser Ranging:
| Byte | 0 | 1 | 2 | 3 | 4 | 5 |
| menggambarkan | 0xee | 0x16 | 0x02 | Definisi Kabel: | 0xa7 | 0xaa |
| Byte | 0 | 1 | 2 | 3 | 4 | 5 | 6 | 7 | 8 | 9 |
| menggambarkan | 0xee | 0x16 | 0x06 | 0x03 | 0xa7 | Versi | Tarikh | Monyear | Pengarang | Check_sum |
| Versi: bit7 ~ bit4 Nombor versi utama (1 ~ 15) bit3 ~ bit0 Nombor versi kecil (0 ~ 15) EG: 0x10---v1.0data: tarikh (1 ~ 31) Monyear: bit7 ~ bit4 bulan (1 ~ 12) bit0 ~ bit0 0x01 ZQXIONG | ||||||||||
2.15 Nombor versi perkakasan pertanyaan
2.15.1 Hantar ke Modul Laser Ranging:
| Byte | 0 | 1 | 2 | 3 | 4 | 5 |
| menggambarkan | 0xee | 0x16 | 0x02 | 0x03 | 0xa8 | 0xab |
2.15.2 Laser Ranging Module Pulangan:
| Byte | 0 | 1 | 2 | 3 | 4 | 5 | 6 | 7 | 8 | 9 | |
| menggambarkan | 0xee | 0x16 | 0x06 | 0x03 | 0xa8 | MBVS | CTVS | APDVS | LDVS | Check_sum | |
| MBVS: Versi Perkakasan Motherboard NumberCTVS: Versi Perkakasan Papan Kawalan NumberApDVS: Versi Perkakasan Papan Pengesanan NomborLDVS: Nombor Versi Perkakasan Papan Pemandu Bit7 ~ Bit4 Nombor Versi Utama (1 ~ 15) Bit3 ~ Bit0 Nombor Versi Kecil (0 ~ 15) 0 | |||||||||||
2.16 Nombor SN Pertanyaan
2.16.1 Hantar ke Modul Laser Ranging:
| Byte | 0 | 1 | 2 | 3 | 4 | 5 |
| menggambarkan | 0xee | 0x16 | 0x02 | 0x03 | 0xa9 | 0xac |
2.16.2 Laser Ranging Module Pulangan:
| Byte | 0 | 1 | 2 | 3 | 4 | 5 | 6 | 7 | 8 |
| menggambarkan | 0xee | 0x16 | 0x05 | 0x03 | 0xa9 | Monyear | Num_h | Num_l | Check_sum |
| Monyear: bit7 ~ bit4 bulan (1 ~ 12) bit3 ~ bit0 tahun (0 ~ 15), sepadan dengan 2020 ~ 2035num_ h: Nombor adalah 8 digit highnum_ 50: lebih rendah 8 digit nonum: 1 ~ 999 tidak | |||||||||
2.17 Jumlah masa output cahaya
2.17.1 Hantar ke Modul Laser Ranging:
| Byte | 0 | 1 | 2 | 3 | 4 | 5 |
| menggambarkan | 0xee | 0x16 | 0x02 | 0x03 | 0x90 | 0x93 |
| Byte | 0 | 1 | 2 | 3 | 4 | 5 | 6 | 7 | 8 |
| menggambarkan | 0xee | 0x16 | 0x05 | Definisi Kabel: | 0x90 | Pnum3 | Pnum2 | Pnum1 | Check_sum |
| PNUM3: Jumlah masa output cahaya, bit23 ~ bit16pnum2: jumlah masa output cahaya, bit15 ~ bit8pnum1: jumlah output cahaya, bit7 ~ bit0 | |||||||||
2.18 Tanya kuasa dan cahaya kali kali ini
2.18.1 Hantar ke Modul Laser Ranging:
| Byte | 0 | 1 | 2 | 3 | 4 | 5 |
| menggambarkan | 0xee | 0x16 | 0x02 | 0x03 | 0x91 | 0x94 |
2.18.2 Laser Ranging Module Pulangan:
| Byte | 0 | 1 | 2 | 3 | 4 | 5 | 6 | 7 | 8 |
| menggambarkan | 0xee | 0x16 | 0x05 | 0x03 | 0x91 | Pnum3 | Pnum2 | Pnum1 | Check_sum |
| PNUM3: Jumlah masa output cahaya, bit23 ~ bit16pnum2: jumlah masa output cahaya, bit15 ~ bit8pnum1: jumlah output cahaya, bit7 ~ bit0 | |||||||||
menggambarkan
| 3.1 Peralatan Pemeriksaan Self: EE 16 02 03 01 04RECV: EE 16 06 03 01 FF 00 F7 FF F9 | 3.5 Tetapkan Sasaran Pertama: EE 16 03 03 03 01 07RECV: EE 16 02 03 03 06 |
| 3.2 Rangingsend tunggal: EE 16 02 03 02 05RECV: EE 16 06 03 02 04 00 00 00 09 | 3.6 Tetapkan Matlamat Akhir: EE 16 03 03 03 02 08 Recv: EE 16 02 03 03 06 |
| 3.3 Rangingsend berterusan: EE 16 02 03 04 07RECV: EE 16 06 03 04 04 00 00 00 0BRECV: EE 16 06 03 04 04 00 00 00 0BRECV: …… | 3.7 Tetapkan Pelbagai TargetSend: EE 16 03 03 03 03 09 RECV: EE 16 02 03 03 06 |
| 3.4 berhenti berkisar: untuk 16 02 03 05 08RECV: untuk 16 02 03 05 08 | 3.8 Tetapkan kekerapan jarak berterusan 1HzSend: EE 16 04 03 A1 01 00 A5RECV: EE 16 02 03 A1 A4 |
| 3.9 Tetapkan kekerapan jarak berterusan 5HzSend: EE 16 04 03 A1 05 00 A9RECV: EE 16 02 03 A1 A4 |
1. Untuk membolehkan pengendali dengan selamat dan betul menggunakan pelbagai fungsi produk Rangefinder Laser Miniatur STA-AM30X, Manual Operasi dan Penyelenggaraan ini memberikan arahan mengenai operasi dan penyelenggaraannya. Ia terpakai kepada pengendali dan kakitangan penyelenggaraan produk ini.
STA-AM30X Miniatur Laser Rangefinder (selepas ini dirujuk sebagai laser rangefinder) adalah produk optoelektronik ketepatan yang memancarkan laser ke arah sasaran yang diukur dan mengira maklumat jarak berdasarkan masa penerbangan laser. Rangefinder laser ini mencapai komunikasi melalui antara muka komunikasi UART (TTL_3.3V), dan dicirikan oleh prestasi cemerlang dan operasi mudah. Laser rangefinder ini dilarang daripada pendedahan langsung kepada mata manusia.
உற்பத்தி தொழில்நுட்பம் மற்றும் ஸ்மார்ட் அலுவலகம், ஸ்மார்ட் கார்கள், பல பரிமாண பரிமாற்றம் மற்றும் ஆற்றல் கருவிகள் போன்ற தொழில்களுக்கு துல்லியமான இயக்க முறைமை தீர்வுகள் மற்றும் சேவைகளை வழங்குகிறது.
Kaca optik H-K9L disyorkan sebagai bahan untuk tetingkap optik. H-K9L adalah kaca optik berwarna yang paling biasa, sesuai untuk julat laser 300nm hingga 2100nm. Ia mempunyai nisbah prestasi kos yang tinggi dan sifat fizikal yang unggul.
2.2 Cadangan Pemprosesan
Toleransi sudut baji tetingkap optik mestilah sekecil mungkin. Adalah disyorkan bahawa toleransi sudut baji ≤ 3 '(gred toleransi ≤ tahap 7);
Permukaan optik tetingkap optik haruslah lancar mungkin. Adalah disyorkan bahawa sisihan purata aritmetik profil (RA) adalah 0.012.
2.3 Cadangan salutan
Jika keseluruhan integrasi sistem menggunakan lensa tetingkap, disyorkan bahawa lensa mempunyai transmisi> 98% untuk jalur panjang gelombang 1535 ± 20nm, dengan ketebalan ≤2mm. Jarak antara lensa dan muka akhir modul hendaklah ≤3mm, sudut yaw ≤1.5 °, dan sudut padang ≤30 °.
Untuk tetingkap optik rangefinder laser 1535nm, disyorkan untuk melapisi filem anti-reflektif dalam lingkungan 1525nm hingga 1545nm, dengan transmisi ≥ 99%.
Mengikut persekitaran penggunaan produk tertentu, filem pelindung lain seperti filem hidrofobik atau filem keras boleh dipilih tambahan untuk salutan pada permukaan luar tetingkap optik. Bagi penunjuk yang tinggal, rujuk kepada MIL-STD-810G, dan transmisi hendaklah ≥ 97%.
2.4 Cadangan untuk bentuk dan penggunaan tetingkap optik
Aperture berkesan tetingkap optik bergantung kepada produk yang berbeza. Dimensi luarannya harus memastikan bahawa aperture berkesan tetingkap optik - diameter luar tetingkap optik ≥ 2mm, dan diameter luar antena rangefinder - dimensi yang diunjurkan dari aperture efektif tetingkap optik ≥ 1.5mm. Rajah skematik ditunjukkan seperti berikut. Oleh kerana tetingkap optik mempunyai penyerapan laser tertentu, disyorkan bahawa ketebalan tetingkap optik itu sendiri dikawal dalam 2 hingga 4mm mengikut dimensi luaran.
Oleh kerana tetingkap optik mempunyai transmisi yang tinggi, disyorkan bahawa sisihan paksi antara paksi optik pemancar dan normal tetingkap optik dikawal dalam 0 ° hingga 2 °. Gambarajah skematik kedudukan tetingkap optik dan dua tong lensa ditunjukkan seperti berikut. Pada masa yang sama, jurang udara antara tetingkap optik dan rangefinder mestilah sekecil mungkin. Rajah 4 menunjukkan gambarajah skematik penempatan tetingkap optik dalam dua cara.
Aperture berkesan tetingkap optik y2 - diameter luar tetingkap optik y1> 2mm
Diameter luar antennay3 rangefinder-saiz unjuran aperture efektif tetingkap optik y2,> 1.5mm
Jurang udara d antara tetingkap optik dan rangefinder harus sekecil seperti aperture efektif dari tetingkap optik x2 - diameter luar tetingkap optik x1> 2mm
Diameter luar antena rangefinder x3-saiz unjuran aperture efektif tetingkap optik x2,> 1.5mm
Jurang udara d antara tetingkap optik dan rangefinder mestilah sekecil mungkin
Gambar rajah skematik dua cara dimensi luaran dan penempatan tetingkap optik
3. Operasi agar anda memahami sepenuhnya semua fungsi sistem ini dan menguasai kaedah pemasangan, operasi dan penyelenggaraan dengan betul, sila baca kandungan bab ini dengan teliti sebelum memasang dan menggunakan sistem ini.
3.1 Operasi Power-On
3.1.1 Sebelum Kuasa-On
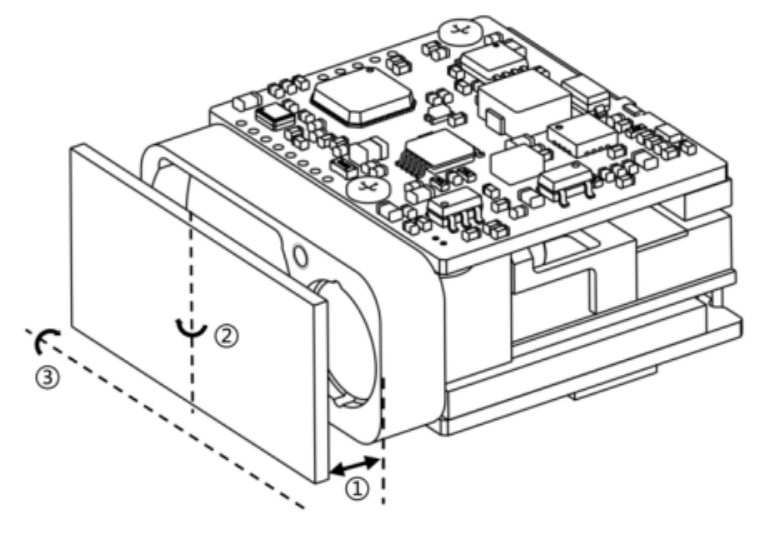
Sambungkan rangefinder laser, kabel debugging, bekalan kuasa DC dan komputer tuan rumah seperti yang ditunjukkan dalam angka tersebut.
Gambarajah skematik sambungan
3.1.2 Power-on
Operasi kuasa: Sambungkan bekalan kuasa.
3.2 Operasi Power-Off
3.2.1 Sebelum Power-Off
Sebelum mematikan, ia harus disahkan bahawa proses kerja dan tugas setiap produk berada dalam keadaan yang akhir, dan program itu keluar.
≤ 141g
Langkah-langkah kuasa: Putuskan sambungan bekalan kuasa.
3.3 Operasi
3.3.1 Mod Ranging
Kaedah Operasi Mod Ranging:
a) Hantar perintah "Single Ranging" ke Rangefinder Laser. Rangefinder laser akan melakukan satu -satunya dan melaporkan status jarak dan nilai jarak.
b) Hantar perintah "1Hz Ranging" ke rangefinder laser. Rangefinder laser akan melakukan pelepasan sekali sesaat dan melaporkan status jarak jauh dan nilai jarak.
c) Hantar perintah "berhenti berkisar" untuk berhenti berkisar.
d) Hantar perintah "5Hz Ranging" ke rangefinder laser. Rangefinder laser akan melaksanakan lima kali sesaat dan melaporkan status jarak dan nilai jarak.
e) Hantar perintah "berhenti berkisar" untuk berhenti berkisar.
f) Hantar perintah "10Hz Ranging" ke rangefinder laser. Rangefinder laser akan melaksanakan sepuluh kali sesaat dan melaporkan status jarak dan nilai jarak.
g) Hantar perintah "berhenti berkisar" untuk berhenti berkisar.
3.3.2 Tetapan Gating Jarak
Jarak gating bermaksud menetapkan seksyen jarak gating (diwakili dalam heksadesimal) dalam julat keupayaan jarak jauh. Maklumat jarak sasaran yang lebih rendah daripada nilai gating tidak akan dihantar kembali, dan nilai jarak lebih tinggi daripada nilai gating dalam julat pengukuran adalah nilai yang berkesan.
Sekiranya tetapan diperlukan, kaedah operasi adalah seperti berikut:
a) Hantar arahan "tetapan nilai gating" ke rangefinder laser.
Hantar arahan "Ranging" ke Rangefinder Laser. Rangefinder laser akan melaksanakan jarak, menentukan sama ada nilai jarak belakang sentral lebih besar daripada nilai gating jarak, dan kemudian melaporkan hasilnya.
c) Hantar perintah "Berhenti berkisar" untuk menghentikan operasi yang berkisar. Jika fungsi gating jarak tidak diperlukan, tetapan awal perlu dipulihkan secara manual (tetapkan nilai gating ke 0).
3.3.3 Mod Pemeriksaan Sendiri
Kaedah operasi pemeriksaan diri:
a) Hantar arahan "Siasatan Sendiri" kepada Rangefinder Laser. Rangefinder laser mula menjalankan pemeriksaan sendiri dan menghantar maklumat semula seperti suhu ambien semasa dan status kerja.
4. Pemeriksaan dan Penyelenggaraan
4.1 Pemeriksaan Umum
Pemeriksaan visual dan pemeriksaan kuasa harus dijalankan apabila produk digunakan untuk kali pertama dan selepas modul sumber diganti. Untuk produk dalam penggunaan biasa, hanya pemeriksaan kuasa yang diperlukan sebelum digunakan.
4.1.1 Pemeriksaan Visual
Langkah -langkah pemeriksaan visual adalah seperti berikut:
a) Periksa sama ada penampilan produk adalah normal;
b) Periksa sama ada terdapat sebarang kesilapan dalam sambungan kabel, dan sambungan harus tegas.
4.2.2 Pemeriksaan kuasa
Langkah-langkah pemeriksaan kuasa adalah seperti berikut:
a) Lengkapkan operasi kuasa mengikut langkah-langkah dalam 3.1;
Kelas ⅰ (IEC 60825-1)
c) Selepas pemeriksaan selesai, selesaikan operasi kuasa mengikut langkah-langkah dalam 3.2.
4.2 Penyelenggaraan tetap
Rangefinder laser tidak memerlukan penyelenggaraan di bawah keadaan kerja biasa. Penyelenggaraan diperlukan jika ia disimpan dalam persekitaran bebas debu selama lebih dari satu tahun. Kandungan penyelenggaraan termasuk:
4.2.1 Pemeriksaan Umum
Mengendalikan pemeriksaan umum produk apabila ia tidak bertenaga. Langkah -langkahnya adalah seperti berikut:
a) semua tanda dan nombor pada produk dan palam kabel ujian (soket) harus betul dan jelas;
b) semua jenis skru pada panel hendaklah diketatkan;
c) Perlu dipastikan bahawa tidak ada lampiran seperti bintik -bintik cahaya, pockmarks, noda air, acuan, cap jari, zarah debu, dan lain -lain dan retak yang menghalang pemerhatian normal pada kaca optik produk seperti yang dilihat secara visual.
4.2.2 Pemeriksaan kuasa
Mengendalikan pemeriksaan dan penyelenggaraan komprehensif rangefinder laser apabila ia dikuasakan. Kandungannya termasuk:
a) menghidupkan kuasa produk dalam urutan;
b) Lengkapkan operasi kuasa mengikut langkah-langkah dalam 3.1;
c) Mulakan modul ujian sendiri produk dan selesaikan ujian sendiri produk;
d) Lengkapkan operasi kuasa mengikut langkah-langkah dalam 3.2.
5. Analisis gejala kesalahan dan kaedah penyelesaian masalah
Rangefinder laser adalah produk ketepatan. Apabila kesalahan berlaku, keseluruhan peranti perlu dikembalikan ke kilang untuk analisis kesalahan, lokasi, dan pembaikan. Pembaikan diri tidak dibenarkan.
Gejala kesalahan biasa dan kaedah penyelesaian masalah ditunjukkan dalam jadual berikut.
Gejala kesalahan biasa dan kaedah penyelesaian masalah
| Gejala kesalahan | Sebab yang mungkin | Kaedah pemeriksaan | Langkah -langkah untuk menyelesaikan masalah |
| Produk tidak boleh dikuasakan secara normal. | a) Kesalahan dalam bekalan kuasa dan kabel sambungan.B) Kesalahan litar. | Semak bekalan kuasa dan kabel sambungan. | a) Gantikan bekalan kuasa atau kabel sambungan.b) b) Sekiranya berlaku kesalahan litar, hubungi pengilang untuk mendapatkan bantuan dalam menyelesaikan masalah. |
| Tidak dapat mengembalikan maklumat komunikasi. | a) kesalahan sambungan kabelb) bekalan kuasa abnormal) c) kesalahan komunikasi rangefinder laser | a) Periksa sama ada kabel sambungan adalah normal.b) Periksa sama ada bekalan kuasa adalah normal. | a) Gantikan kabel sambungan dan bekalan kuasa. b) Untuk masalah komunikasi, hubungi pengilang untuk mendapatkan bantuan dalam menyelesaikannya. |
6. Keperluan untuk pembungkusan, pengangkutan dan penyimpanan
6.1 Pembungkusan
Bagi produk yang telah dibongkar dan perlu dipulihkan, mereka harus dibungkus mengikut pembungkusan asal. Apabila produk perlu dikembalikan ke kilang, pembungkusan asal harus digunakan sebanyak mungkin. Apabila bentuk pembungkusan lain digunakan, ia tidak boleh menyebabkan penurunan prestasi produk atau kerosakan pada produk.
6.2 Pengangkutan
Produk yang telah dibungkus semula boleh diangkut melalui kereta, kereta api, kapal terbang, kapal, dan lain -lain. Semasa pengangkutan, barang -barang yang dibungkus harus ditetapkan pada cara pengangkutan untuk mengelakkan fenomena seperti kesan, pengendalian kasar, dan terdedah kepada hujan dan salji. Untuk persekitaran pengangkutan jalan dan pengangkutan kereta api, rujuk kepada MIL-STD-810G.
6.3 Penyimpanan
Produk yang dibungkus semula tidak akan disimpan di udara terbuka di alam liar. Mereka harus disimpan di gudang dengan suhu penyimpanan 0 ℃ hingga +30 ℃, kelembapan relatif tidak melebihi 80%, bebas dari hakisan bahan -bahan menghakis, getaran dan kesan mekanikal yang kuat, dan medan magnet yang kuat.
Untuk menggunakan produk ini dengan selamat, sila baca manual arahan ini dengan teliti sebelum mengendalikan produk.
l Rangefinder laser ini adalah produk optik dan mekanikal ketepatan. Mengendalikannya yang melanggar peraturan boleh menyebabkan kecederaan laser berbahaya. Jangan buka atau laraskan mana -mana bahagian rangefinder laser, dan jangan cuba membaiki atau menyesuaikan prestasi rangefinder laser sendiri.
L Perhatikan perlindungan elektrostatik: Komponen elektronik rangefinder laser sensitif terhadap pelepasan elektrostatik. Jangan sentuh sebarang peranti elektronik tanpa langkah perlindungan.
l Hanya menghidupkan kuasa rangefinder laser untuk operasi dalam voltan dan julat kuasa yang ditentukan.
l Ia dilarang menyentuh kanta optik dengan jari atau objek keras (untuk mencegah pencemaran minyak atau menggaru kanta).
l Ia dilarang untuk mengukur sasaran reflektiviti tinggi pada jarak yang terlalu dekat (untuk mengelakkan kerosakan kepada komponen teras pengesan, dll.).
l Ia dilarang menyimpan rangefinder laser di bawah keadaan yang tidak ditentukan (seperti persekitaran yang sangat tercemar, melebihi julat suhu penyimpanan, dan lain-lain).
l Ia dilarang untuk rangefinder laser tertakluk kepada kesan mekanikal yang kuat (getaran, kesan, penurunan, dan lain -lain).
Modul LRF OEM/ODM 1-90km
Shenzhen Jiguang Technology Co., Ltd
E -mel: sales@jioptics.com
Laman web:www.jioptics.com
Alamat: 2017 Longcheng Avenue, Longgang District, Shenzhen